[발명의 명칭]
사출 불량 검사 장치(injection defect inspection device)
[출원번호/일자)]
2024-0119225 (2024.09.03)
[등록번호/일자)]
2829861 (2025.07.01)
[요약]
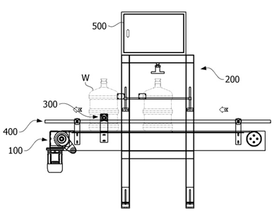
본 발명은 물통을 어느 일 방향으로 공급하는 컨베이어, 실린더로 물통의 상단부를 가압하여 불량을 확인하는 검사유닛 및 검사유닛에서 불량으로 판정된 물통을 컨베이어 밖으로 배출시키는 배출유닛을 포함하는 사출 불량 검사 장치를 제공한다.
[대표도면]
