[발명의 명칭]
바디 드라이어(body dryer)
[출원번호/일자)]
2024-0001803 (2024.10.08)
[등록번호/일자)]
0499878 (2025.12.17)
[요약]
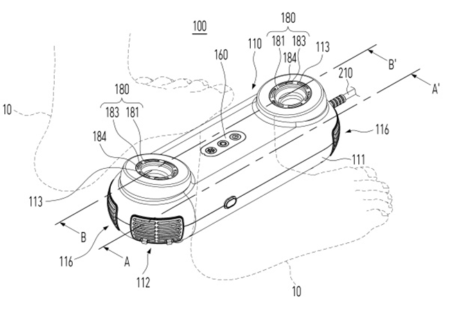
바디 드라이어가 개시된다. 본 고안의 일 측면에 따르면, 양측에 외부에서 공기가 유입 가능한 한 쌍의 유입구가 형성되고 양측에 상측으로 개방되는 개방구가 형성되는 케이스 유닛, 케이스 유닛의 내부에 설치되되 각각 한 쌍의 유입구 측에 배치되어 한 쌍의 개방구를 향해 바람을 일으켜 보내는 한 쌍의 송풍 유닛, 케이스 유닛에 설치되어 사용자의 신체를 감지하는 감지 유닛, 및 감지 유닛에 의해 케이스 유닛 측에 위치한 사용자의 신체가 감지됨에 따라 송풍 유닛을 작동시키는 제어 유닛을 포함하는 바디 드라이어가 제공된다.
[대표도면]
