성공사례
 

[발명의 명칭]

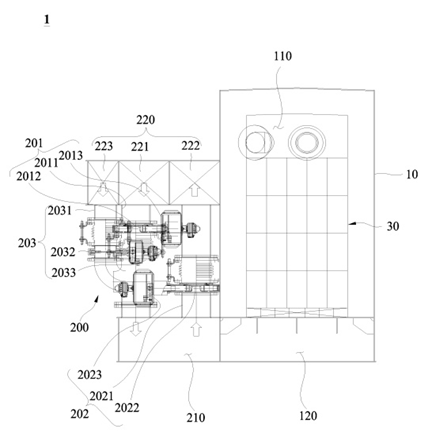
밸브 모듈형 축열 산화 장치(the valve modular regenerative thermal oxidizer)

[출원번호/일자)]

2024-0184525 (2024.12.12)

[등록번호/일자)]

2844458 (2025.08.05)

 

[요약]

본 발명은 베드모듈을 포함하며, 챔버폭과 챔버길이를 가지는 연소챔버, 및 연소챔버의 측부에 배치된 가스분배모듈을 포함하며, 가스분배모듈은, 챔버길이를 따라 나란하게 연장된 가스모듈길이와 챔버폭을 따라 나란하게 연장된 가스모듈폭을 가져, 연소챔버와 가스분배모듈의 이송 및 설치가 용이하다.

 

[대표도면]

image.png

 

[상세보기]

상담신청

의뢰인의 권익을 위해 항상 노력하겠습니다.

*성함
*연락처
*상담내용
사진 및 파일 첨부

여기에 파일을 끌어 놓거나 왼쪽의 버튼을 클릭하세요.

파일 용량 제한 : 0MB (허용 확장자 : *.*)

0개 첨부 됨 ( / )
상담내용을 입력해 주세요.