성공사례
 

[발명의 명칭]

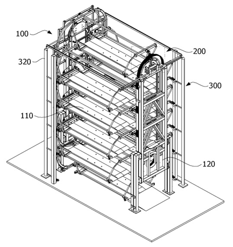
소방 장치가 구비된 전기차 충전 기계식 주차 설비(electric vehicle charging mechanical parking facilities with fire protection)

[출원번호/일자)]

2025-0017765 (2025.02.12)

[등록번호/일자)]

2900216 (2025.12.10)

 

[요약]

본 발명의 일 실시예에 따른 소방 장치가 구비된 전기차 충전 기계식 주차 설비는 트레이(tray)에 적재된 차량을 수직 방향으로 이동시키는 기계식 주차 설비, 차량에 전력을 공급하는 충전 장치 및 화재 감지 시 소화수를 살수하여 화재를 진압하는 소방 장치를 포함한다.

 

[대표도면]

image.png

 

[상세보기]

상담신청

의뢰인의 권익을 위해 항상 노력하겠습니다.

*성함
*연락처
*상담내용
사진 및 파일 첨부

여기에 파일을 끌어 놓거나 왼쪽의 버튼을 클릭하세요.

파일 용량 제한 : 0MB (허용 확장자 : *.*)

0개 첨부 됨 ( / )
상담내용을 입력해 주세요.