성공사례
 

[발명의 명칭]

이중 가스 처리 가능한 축열 산화 장치(the regenerative thermal oxidizer with dual gas treatment)

[출원번호/일자)]

2025-0021966 (2025.02.20)

[등록번호/일자)]

2819709 (2025.06.09)

 

[요약]

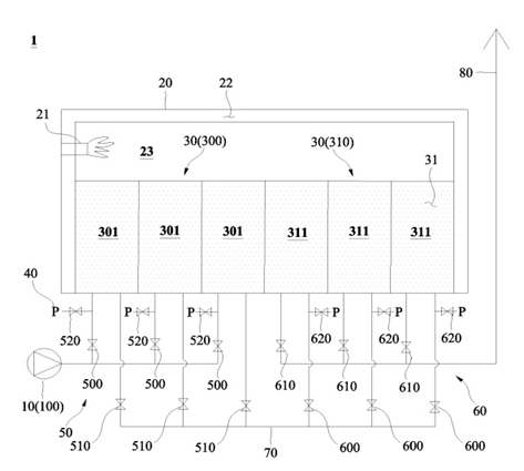
본 발명은 유해가스를 공급하는 유해가스공급부, 유해가스의 연소공간을 가지는 연소챔버, 및 연소챔버의 내부에 배치된 축열부재를 포함하는 베드모듈을 포함하며, 베드모듈은, 유해가스공급부로부터 유해가스를 공급받으며, 연소공간에서 연소된 연소가스를 배출하는 제1베드모듈, 및 제1베드모듈에서 배출된 연소가스를 공급받으며, 연소공간에서 재연소된 연소가스를 배출하는 제2베드모듈을 포함하여, 처리 효율을 증대시키고, 설치 및 유지비용을 절감할 수 있다.

 

[대표도면]

image.png

 

[상세보기]

상담신청

의뢰인의 권익을 위해 항상 노력하겠습니다.

*성함
*연락처
*상담내용
사진 및 파일 첨부

여기에 파일을 끌어 놓거나 왼쪽의 버튼을 클릭하세요.

파일 용량 제한 : 0MB (허용 확장자 : *.*)

0개 첨부 됨 ( / )
상담내용을 입력해 주세요.