[발명의 명칭]
레일 설치 장치(the rail installation apparatus)
[출원번호/일자)]
2025-0024203 (2025.02.25)
[등록번호/일자)]
2889129 (2025.11.17)
[요약]
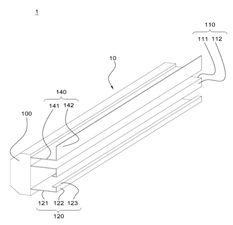
본 발명은 판매대에 레일을 설치하는 레일설치유닛을 포함하는 레일 설치 장치에 있어서, 레일설치유닛은, 바디부, 바디부에 배치되며, 레일의 일측을 지지하는 제1지지모듈, 바디부에 배치되며, 레일의 타측을 지지하는 제2지지모듈, 및 바디부에 배치되며, 제1지지모듈과 제2지지모듈을 회동시키는 구동모듈을 포함하여, 판매대에 레일을 용이하고, 신속하게 설치할 수 있다.
[대표도면]
