성공사례
 

[발명의 명칭]

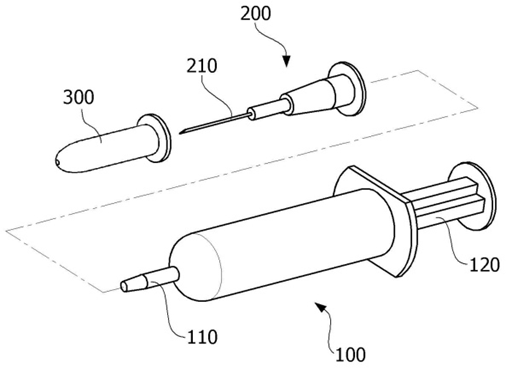
폐기 안정성을 향상시킨 일회용 주사기(disposable syringe with improved disposal safety)

[출원번호/일자)]

2025-0044343 (2025.04.04)

[등록번호/일자)]

2906261 (2025.12.26)

 

[요약]

본 발명의 일 실시예에 따른 폐기 안전성을 향상시킨 일회용 주사기는 주사기 팁 및 플런저를 포함하는 주사기 본체, 주사기 팁에 결합되며, 외주면에 가이드핀이 돌출 형성되는 니들 허브 및 내주면에 가이드핀의 이동 경로를 안내하는 가이드홈이 형성되는 은폐캡을 포함한다.

 

[대표도면]

image.png

 

[상세보기]

상담신청

의뢰인의 권익을 위해 항상 노력하겠습니다.

*성함
*연락처
*상담내용
사진 및 파일 첨부

여기에 파일을 끌어 놓거나 왼쪽의 버튼을 클릭하세요.

파일 용량 제한 : 0MB (허용 확장자 : *.*)

0개 첨부 됨 ( / )
상담내용을 입력해 주세요.