[발명의 명칭]
커버 밀착형 조명 어셈블리(the lighting assembly with cover in close contact)
[출원번호/일자)]
2025-0046933 (2025.04.10)
[등록번호/일자)]
2870068 (2025.10.02)
[요약]
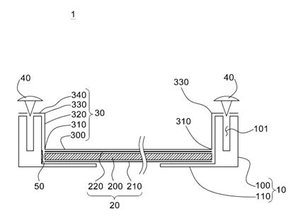
본 발명은 하우징, 하우징에 배치된 광학모듈, 및 하우징에 고정되어, 광학모듈의 상면을 지지하는 커버를 포함하여, 커버가 광학모듈에 밀착되어 지지할 수 있다.
[대표도면]

[발명의 명칭]
커버 밀착형 조명 어셈블리(the lighting assembly with cover in close contact)
[출원번호/일자)]
2025-0046933 (2025.04.10)
[등록번호/일자)]
2870068 (2025.10.02)
[요약]
본 발명은 하우징, 하우징에 배치된 광학모듈, 및 하우징에 고정되어, 광학모듈의 상면을 지지하는 커버를 포함하여, 커버가 광학모듈에 밀착되어 지지할 수 있다.
[대표도면]

의뢰인의 권익을 위해 항상 노력하겠습니다.