[발명(고안)의 명칭]
여행용 캐리어(SUITCASE)
[출원번호/일자)]
2025-0001577 (2025.08.26)
[등록번호/일자)]
0500216 (2026.03.27)
[요약]
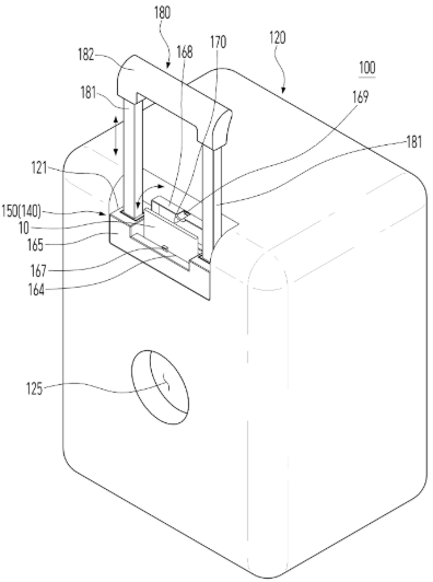
여행용 캐리어가 개시된다. 본 고안의 일 측면에 따르면, 짐을 수납 가능한 내부 공간을 구비하는 케이스, 케이스와 결합되는 마운트 유닛, 및 마운트 유닛과 결합되어 케이스를 당기거나 밀어 이동 가능한 핸들 유닛을 포함하고, 마운트 유닛은, 여권을 수납 가능한 수납 공간을 구비하는, 여행용 캐리어가 제공된다.
[대표도면]
